

The PC20 range of pipeline connectors are designed to give universal flow direction when used with swivel connector steam traps. The integral strainer screen provides protection for the selected steam trap where system conditions require.

The PC20 range of pipeline connectors are designed to give universal flow direction when used with the following swivel connector steam traps: UTD26, UTDM42, UTD52, UBP21, UBP32, UFT14, UFT32, UIB30 and UIB30H.
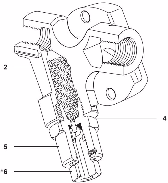
The integral strainer screen provides protection for the selected steam trap where system conditions require. There is an optional blowdown valve which can be used to periodically remove any pipeline debris.
The PC20 can also be supplied fitted with an integral Spiratec sensor to detect steam trap failures and reduce energy costs. These are designated IPC20 and IPC21. Full details are on TI-P128-17.
This product fully complies with the requirements of the Pressure Equipment Directive (PED).
This product is available with certification to EN 10204 2.2. Note: All certification/inspection requirements must be stated at the time of order placement.
Condensate inlet/outlet DN15, 20 and 25 (1/2", 3/4" and 1"). Screwed BSP, NPT. Socket weld ends to ANSI B 16.11/BS 3799 Class 3000.

| No. | Part | Material | Standard |
|---|---|---|---|
| 1 | Body | Austenitic stainless steel | ASTM A351 CF8 |
| 2 | Strainer screen | Austenitic stainless steel (0.8 mm perforations) | 316L |
| 3 | Strainer cap | Austenitic stainless steel | AISI 303 |
| 4 | Cap gasket | Stainless steel | BS 1449 304 S16 |
| 5 | Blowdown valve | Stainless steel | ASTM A582 A16 |
| 6 | Valve screw | Stainless steel | ASTM A276 431 |
| 7 | Plug | Steel | ASTM A105 |
| Size | DN15 | DN20 | DN25 | For conversion: |
|---|---|---|---|---|
| Kv | 1.1 | 1.1 | 1.1 | Cv (UK) = Kv x 0.963 Cv (US) = Kv x 1.156 |

The product must not be used in this region. *PMO Maximum operating pressure recommended for saturated steam service.
| Parameter | Value |
|---|---|
| Body design conditions | ANSI/ASME Class 300 (PN50) |
| PMA Maximum allowable pressure | 50 bar g |
| TMA Maximum allowable temperature | 400°C |
| PMO Maximum operating pressure for saturated steam service | 32 bar g |
| TMO Maximum operating temperature | 400°C |
| Designed for a maximum cold hydraulic test pressure of | 76 bar g |

| Size | A | B | C | C* | D | Weight (kg) | Weight* (kg) |
|---|---|---|---|---|---|---|---|
| 1/2" | 81 | 24 | 75 | 95 | 58 | 0.80 | 1.20 |
| 3/4" | 89 | 24 | 75 | 95 | 64 | 0.90 | 1.30 |
| 1" | 99 | 25 | 79 | 100 | 69 | 1.10 | 1.50 |
* C and Weight* are for PC20 with integral blowdown valve.*
For full details see Installation and Maintenance Instructions (IM-P128-11) supplied with the product.
There are two criteria which must be satisfied to ensure that the swivel connector trap will operate correctly and ensure effective condensate removal:
After installation it is recommended that the pipeline connector is insulated to minimise radiated heat losses and to protect personnel from burns risk. Note: Ensure that the discharge from the blowdown valve blows to a safe place. Detailed instructions regarding welding socket weld versions are provided with the product.
The product is recyclable. No ecological hazard is anticipated with disposal of this product providing due care is taken.
Example: 1 off 1/2" Spirax Sarco PC20 pipeline connector with integral strainer in austenitic stainless steel socket weld to ANSI B 16.11 Class 3000.
The spare parts available are detailed below. No other parts are supplied as spares.
Available spares

*Items 3 and 6 are not available spares.

| Item | A/F or mm | Thread | Nm |
|---|---|---|---|
| 3 | 32 A/F | M28 x 1.5P | 170-190 |
| 5 | 32 A/F | M28 x 1.5P | 170-190 |
| 6 | 19 A/F | - | 45-50 |
Explore similar products in our catalog







