

Spirax Sarco VB14 Vacuum Breaker is a compact general-purpose valve designed for condensing steam and liquid systems. Features PN16 body design, BSP or NPT threaded connections, operating temperature range from -196°C to 260°C, maximum allowable pressure of 16 bar g, lightweight and compact construction with brass body and stainless steel internals for durability and versatility.

The Spirax Sarco VB14 Vacuum Breaker is a compact general-purpose valve primarily used in condensing steam and liquid systems for vacuum breaking operations, ensuring stable system performance. The product features a compact structural design and reliable performance, suitable for vacuum breaking requirements across various industrial applications.
Quality Certification
Body and bonnet can be supplied with EN10204 2.2 certificates, ensuring product quality meets relevant standards.
| Design Parameter | Value |
|---|---|
| Body Design Rating | PN16 |
| Maximum Allowable Pressure (PMA) | 16 bar g @ 180°C |
| Maximum Allowable Temperature (TMA) | 260°C @ 7 bar g |
| Minimum Allowable Temperature | -196°C |
| Maximum Saturated Steam Pressure (PMO) | 14 bar g |
| Maximum Operating Temperature (TMO) | 260°C @ 7 bar g |
| Minimum Operating Temperature | 0°C |
| Cold Hydraulic Test Pressure | 24 bar g |
| Opening Differential Pressure (Δp) | 4.6 mmHg |
Low Temperature Applications
For applications below -196°C, please contact Spirax Sarco for technical support.
| Connection Point | Size | Connection Type |
|---|---|---|
| System Connection | ½" | BSP or NPT threaded |
| Air Inlet Connection | 1/8" | BSP or NPT threaded |


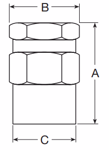
| Size | Dimension A (mm) | Dimension B (A/F, mm) | Dimension C (mm) | Kv Value | Weight (kg) |
|---|---|---|---|---|---|
| ½" | 55 | 34 | 34 | 0.52 | 0.35 |


| No. | Component | Material | Specification |
|---|---|---|---|
| 1 | Cap | Brass | CU ZN 39 PB2 |
| 2 | Disc | Stainless Steel | Z 100 CD 17 |
| 3 | Seat | Stainless Steel | Z15 CN 16 02 |
| 4 | Body | Brass | CU ZN 39 PB2 |
| 5 | Gasket | Stainless Steel | AISI 304 |
Installation Requirements
For detailed installation procedures, please refer to the Installation and Maintenance Instructions (IM-P019-05) supplied with the product.
Spirax Sarco ½" VB14 Vacuum Breaker with BSP threaded connection (other connection types available on request).
Explore similar products in our catalog