

全不锈钢材质
斯派莎克 Spirax Sarco AE14 系列是用于液体系统的浮球型自动排空气阀。阀体和阀盖采用球墨铸铁材质,配备氟化橡胶、EPDM 或不锈钢阀锥,支持内置截止阀选项(AE14SV/AE14ESV),广泛应用于水和其它非腐蚀性液体系统。

AE14 为用于液体系统的浮球型排空气阀。其阀体和阀盖由球墨铸铁制造,设计精巧,整个设备维护方便。AE14 标准型号带有氟化橡胶阀锥,提供优异的密封性能。此外,还提供 AE14SV 和 AE14ESV 型号,在进口处配置了内置式截止阀,便于在不拆卸管道的情况下进行维护和清理。
可供型号

| 参数 | 数值 |
|---|---|
| 阀体设计条件 | PN16 |
| 最大允许压力 (PMA) | 16 bar g @ 110 °C |
| 最高允许温度 (TMA) | 250 °C @ 13.6 bar g |
| 最小允许温度 | 0 °C |
| 最大工作压力 (PMO) | 16 bar g |
| 最大压差 (ΔPMX) | 14 bar g |
| 设计最大冷态水压试验压力 | 24 bar g |
| 最小液体比重 | 0.6 |
不同型号最大工作温度 (TMO):

| 序号 | 部件 | 材质 | 标准 |
|---|---|---|---|
| 1 | 阀体 | 球墨铸铁 | DIN 1693 GGG 40 |
| 2 | 阀盖螺栓 | 钢 | BS 3692 Gr. 8.8 |
| 3 | 阀盖垫圈 | 加强型片状石墨 | - |
| 4 | 阀盖 | 球墨铸铁 | DIN 1693 GGG 40 |
| 5 | 主阀座 | 不锈钢 | BS 970 431 S29 |
| 6 | 主阀座垫圈 | 不锈钢 | BS 1449 304 S11 |
| 7 | 主阀装配螺栓 | 不锈钢 | BS 6105 Cl A2-70 |
| 8 | 浮球及杆 | 不锈钢 | BS 1449 304 S16 |
| 9 | 阀芯 (AE14/SV) | 不锈钢 + 氟化橡胶 | - |
| 阀芯 (AE14E/ESV) | 不锈钢 + EPDM | WRc 9205519 | |
| 阀芯 (AE14S) | 不锈钢 | AISI 440B | |
| 10 | 销托架 | 不锈钢 | BS 1449 304 S16 |
| 11 | 销 | 不锈钢 | - |
| 12* | 截止阀外罩 | 黄铜 | BS 2874 CZ 121 3Pb |
| 13* | 截止阀轴 | 黄铜 | BS 2874 CZ 121 3Pb |
| 14* | 截止阀芯 | 黄铜 | BS 2874 CZ 121 3Pb |
| 15* | 'O'形环 | 合成橡胶 | 氟化碳 |
| 16* | 截止阀垫圈 | 铜 | BS 2870 C 101 |
*注:部件 12 至 16 仅用于 AE14ESV 和 AE14SV 型号。

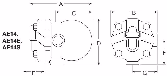
| 口径 | A | B | C | D | E | F | G | 重量 |
|---|---|---|---|---|---|---|---|---|
| ½" | 147 | 114 | 80 | 114 | 105 | 60 | 60 | 2.5 |
| ¾" | 147 | 114 | 80 | 114 | 105 | 60 | 60 | 2.5 |

| 口径 | A | B | C | D | E | F | G | H | 重量 |
|---|---|---|---|---|---|---|---|---|---|
| ½" | 148 | 114 | 65 | 129 | 105 | 76 | 60 | 147 | 2.7 |
| ¾" | 148 | 114 | 65 | 129 | 105 | 76 | 60 | 147 | 2.7 |

图中实线部分为可供备件,虚线部分不作为备件提供。
可供备件:

| 序号 | 部件 | 对边宽度 | 螺纹规格 | 拧紧力矩 (N m) |
|---|---|---|---|---|
| 2* | 阀盖螺栓 | 17 AF | M10 x 30 | 47 - 50 |
| 5 | 主阀座 | 17 AF | - | 50 - 55 |
| 7 | 主阀装配螺栓 | Pozidrive | M4 x 6 | 2.5 - 3.0 |
| 12* | 截止阀外罩 | 21 AF | - | 30 - 35 |
*注:部件 2 和 12 不作为备件提供。
详细信息请参考随产品提供的安装维修指南 (IM-P149-06)。
处理: 本产品可循环使用,处理得当不会引起环境问题。
例: 1-斯派莎克 ½" BSP 螺纹连接 AE14 自动排空气阀,球墨铸铁阀体,氟化橡胶阀锥。