

夹塞式
斯派莎克 Spirax Sarco DCV8 是一款不锈钢对夹碟片式止回阀,设计安装于两法兰之间(符合 EN 1092 或 DIN 2501 标准)。该阀门适用于各种腐蚀性流体、蒸汽、酸碱介质,最高工作温度可达 400 °C。DCV8 具有低压降特性,并提供多种弹簧及软密封选项。

DCV8 是一款对夹式碟片止回阀,其作用是防止流体倒流。DCV8 采用全不锈钢结构,可广泛应用于具有侵蚀性的流体、蒸汽、酸性和碱性介质。

| 序号 | 部件 | 材质 | 标准 |
|---|---|---|---|
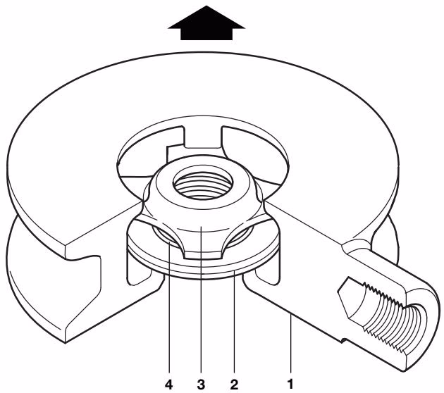
| 1 | 阀体 | 奥氏体不锈钢 | WS 1.4408 |
| 2 | 碟片 | 奥氏体不锈钢 | ASTM A276 316 / WS 1.4401 |
| 3 | 弹簧定位器 | 奥氏体不锈钢 | BS 1449 316 S11 / WS 1.4435 |
| 4 | 标准弹簧 | 奥氏体不锈钢 | BS 2056 316 S42 / WS 1.4401 |
| 4 | 重载弹簧 | 奥氏体不锈钢 | BS 2056 316 S42 |
| 4 | 高温弹簧 | 镍合金 | Nimonic 90 |

工作范围图中:
| 限制条件 | 数值 |
|---|---|
| PMA 最大允许压力 | 40 bar g @ 50 °C |
| TMA 最高允许温度 | 400 °C @ 25.6 bar g |
| 最低允许温度 | -196 °C |
| PMO 最大工作压力 (标准弹簧) | 40 bar g @ 50 °C |
| TMO 最高工作温度 (标准弹簧) | 300 °C @ 27.6 bar g |
| TMO 最高工作温度 (重载弹簧) | 300 °C @ 27.6 bar g |
| TMO 最高工作温度 (高温弹簧) | 400 °C @ 25.6 bar g |
| TMO 最高工作温度 (无弹簧) | 400 °C @ 25.6 bar g |
| Viton 阀座 温度限制 | -25 °C 至 +205 °C |
| EPDM 阀座 温度限制 | -40 °C 至 +120 °C |
| 冷态水压试验压力 | 60 bar g |

单位:mm
| 口径 | A* | B | C | D | E | 重量 (kg) |
|---|---|---|---|---|---|---|
| DN15 | 16.0 | 53 | 15 | 65 | 23.0 | 0.18 |
| DN20 | 19.0 | 63 | 20 | 72 | 28.0 | 0.27 |
| DN25 | 22.0 | 72 | 25 | 78 | 33.8 | 0.40 |
| DN32 | 28.0 | 84 | 32 | 93 | 41.8 | 0.67 |
| DN40 | 31.5 | 94 | 40 | 104 | 49.8 | 0.90 |
| DN50 | 40.0 | 109 | 50 | 115 | 59.8 | 1.45 |
| DN65 | 46.0 | 129 | 65 | 138 | 75.8 | 2.14 |
| DN80 | 50.0 | 144 | 80 | 152 | 90.8 | 2.69 |
| DN100 (PN16) | 60.0 | 164 | 100 | 171 | 111.8 | 4.36 |
| DN100 (PN40) | 60.0 | 169 | 100 | 174 | 111.8 | 4.36 |
*A 符合 EN 558 part 1, series 49 标准。
差压零流量时的开启压力:
| 流向 | DN15 | DN20 | DN25 | DN32 | DN40 | DN50 | DN65 | DN80 | DN100 |
|---|---|---|---|---|---|---|---|---|---|
| ↑ | 25 | 25 | 25 | 27 | 28 | 29 | 30 | 31 | 33 |
| → | 22.5 | 22.5 | 22.5 | 23.5 | 24.5 | 24.5 | 25 | 25.5 | 26.5 |
| ↓ | 20 | 20 | 20 | 20 | 20 | 20 | 20 | 20 | 20 |

压损图是在 20 °C 时阀门全开所得。这些值适用于水平流动的弹簧负载止回阀。对于垂直流动的工况,仅在部分开启时才有小的偏差。
图中曲线只对 20 °C 的水有效。为了确定其它流体的压损,必须计算当量水流量后使用该图:
Vw = √(ρ / 1000) × V
其中:
斯派莎克也可提供蒸汽、压缩空气和其他气体的压损值。
| DN | 15 | 20 | 25 | 32 | 40 | 50 | 65 | 80 | 100 |
|---|---|---|---|---|---|---|---|---|---|
| Kv | 4.4 | 6.8 | 10.8 | 17 | 26 | 43 | 60 | 80 | 113 |
举例:1-斯派莎克 DN25 DCV8 碟片式止回阀,安装于 EN 1092 DN25 PN40 法兰之间。