

Spirax Sarco VB21 Vacuum Breaker is a compact general-purpose valve designed for condensing steam and liquid systems. Features wide operating temperature range, all stainless steel construction, BSP/NPT threaded connections. Body and bonnet can be supplied with EN10204 2.2 certificates. Easy installation and maintenance, effectively meeting system vacuum breaking requirements.

The Spirax Sarco VB21 is a compact general-purpose vacuum breaker primarily used in condensing steam and liquid systems, effectively meeting system vacuum breaking requirements.
Quality Certification
Body and bonnet can be supplied with EN10204 2.2 certificates, ensuring product quality meets relevant standards.
| Design Parameter | Value |
|---|---|
| Body Design Rating | PN25 |
| Maximum Allowable Pressure (PMA) | 25 bar g @ 120°C |
| Maximum Allowable Temperature (TMA) | 400°C @ 13 bar g |
| Minimum Allowable Temperature | -48°C |
| Maximum Saturated Steam Pressure (PMO) | 21 bar g |
| Maximum Operating Temperature (TMO) | 400°C @ 13 bar g |
| Minimum Operating Temperature | 0°C |
| Cold Hydraulic Test Pressure | 38 bar g |
| Opening Differential Pressure (Dp) | 4.6 mmHg |
Low Temperature Applications
For operating temperatures below 0°C, please contact Spirax Sarco for technical support.
| Connection Point | Size | Connection Type |
|---|---|---|
| System Connection | ½" | BSP or NPT threaded |
| Air Inlet Connection | 1/8" | BSP or NPT threaded |


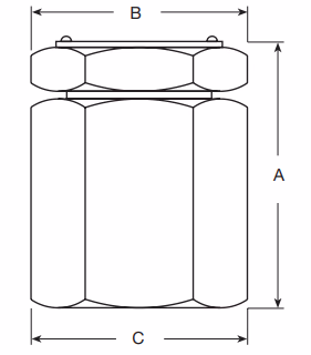
| Size | Dimension A (mm) | Dimension B (A/F, mm) | Dimension C (mm) | Kv Value | Weight (kg) |
|---|---|---|---|---|---|
| ½" | 52 | 36 | 36 | 0.52 | 0.33 |


| No. | Component | Material | Specification |
|---|---|---|---|
| 1 | Cap | Stainless Steel | AISI 303 |
| 2 | Disc | Stainless Steel | AISI 440C |
| 4 | Body | Stainless Steel | AISI 303 |
| 5 | Gasket | Stainless Steel | AISI 304 |
Installation Requirements
For detailed installation procedures, please refer to the Installation and Maintenance Instructions (IM-P019-05) supplied with the product.
For detailed maintenance procedures and safety precautions, please refer to the Installation and Maintenance Instructions (IM-P019-05) supplied with the product to ensure compliance and safety.
Spirax Sarco ½" VB21 Vacuum Breaker with BSP threaded connection (other connection types available on request).
Explore similar products in our catalog