

自由杠杆浮球式
斯派莎克 Spirax Sarco FT14 球墨铸铁浮球式蒸汽疏水阀,配备不锈钢内部件和内置自动排空气阀装置。提供 1/2" 至 1" 螺纹连接,PN16 压力等级。最高工作压力可达 14 bar g,支持在线维修,提供水平 (R-L/L-R) 及垂直 (FT14V) 安装选项。

FT14 是一款采用球墨铸铁阀体的浮球式蒸汽疏水阀,配有不锈钢内件和内置自动排空气装置。该阀专为轻工业和小型流程应用设计,支持在线维护,无需从管道上拆卸即可进行维修。其独特的浮球连杆机构能确保在冷凝水负荷波动时实现平滑、连续的排放。
产品特性
口径:1/2" (DN15), 3/4" (DN20) 和 1" (DN25)
| 参数 | 数值 |
|---|---|
| 阀体设计条件 | PN16 |
| 最大允许压力 (PMA) | 16 bar g @ 100 °C |
| 最高允许温度 (TMA) | 250 °C @ 13 bar g |
| 最低允许温度 | -10 °C |
| 饱和蒸汽下最大工作压力 (PMO) | 14 bar g |
| 最大工作温度 (TMO) | 250 °C @ 13 bar g |
| 最低工作温度 | 0 °C |
最大压差 (ΔPMX):
设计最大冷态水压试验压力: 24 bar g注:本产品可安全应用于全真空工况。


| 序号 | 部件 | 材质 | 标准 |
|---|---|---|---|
| 1* | 阀体 | 球墨铸铁 | DIN 1693 GGG 40 |
| 2 | 阀盖螺栓 | 钢 | BS 3692 Gr.8.8 |
| 3 | 阀盖垫片 | 加强型片状石墨 | - |
| 4 | 阀盖 | 球墨铸铁 | DIN 1693 GGG 40 |
| 5 | 主阀阀座 | 不锈钢 | BS 970 431 S29 |
| 6 | 阀座垫片 | 不锈钢 | BS 1449 409 S19 |
| 7 | 枢轴支架装配螺丝 | 不锈钢 | BS 6105 CI A2-70 |
| 8 | 浮球杆机构 | 不锈钢 | BS 1449 304 S16 |
| 10 | 枢轴支架 | 不锈钢 | BS 1449 304 S16 |
| 11 | 枢轴销 | 不锈钢 | - |
| 12* | SLR 装置 | 不锈钢 | BS 970 303 S21 |
| 13 | SLR 垫片 | 不锈钢 | BS 1449 304 S16 |
| 14 | SLR 密封 | 石墨 | - |
| 15* | 防冲蚀导向装置 (仅1") | 不锈钢 | BS 970 431 S29 |
| 16 | 主阀弹簧 (仅1") | 不锈钢 | BS 2056 302 S26 |
| 17 | 排空气阀组件 | 不锈钢 | - |
注:部件15嵌入部件1中(仅限1"口径)。
图中排量为基于饱和温度下的冷凝水连续排量。在冷态起机或冷凝水负荷增加时,热静力排气阀会自动打开,提供额外的排水能力。
额外冷态排量能力:
| 口径 | 0.5 bar | 1 bar | 2 bar | 3 bar | 4.5 bar | 7 bar | 10 bar | 14 bar |
|---|---|---|---|---|---|---|---|---|
| 1/2" & 3/4" | 70 kg/h | 140 kg/h | 250 kg/h | 380 kg/h | 560 kg/h | 870 kg/h | 1130 kg/h | 1500 kg/h |
| 1" | 120 kg/h | 240 kg/h | 360 kg/h | 500 kg/h | 640 kg/h | 920 kg/h | 1220 kg/h | 1500 kg/h |

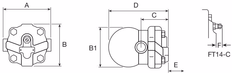
| 口径 | A | B | B1 | C | D | E (拆卸距离) | F | 重量 |
|---|---|---|---|---|---|---|---|---|
| 1/2" | 121 | 107 | 96 | 67 | 147 | 105 | 30 | 2.9 |
| 3/4" | 121 | 107 | 96 | 67 | 147 | 105 | 30 | 2.9 |
| 1" | 145 | 107 | 117 | 75 | 166 | 110 | 23 | 4.0 |

图中实线部分所示为可供备件,虚线部分不作为备件提供。
可供备件:
订购备件: 请按上述说明订购备件,并标明疏水阀的型号,口径和压力等级。 例:1 - 1/2" FT14-10 蒸汽疏水阀的主阀组件。

| 部件序号 | 规格/mm | 螺纹尺寸 | 扭矩 (Nm) |
|---|---|---|---|
| 2 | 17 A/F | M10 x 30 | 47 - 50 |
| 5 | 17 A/F | - | 50 - 55 |
| 7 | Pozidrive | M4 x 6 | 2.5 - 3.0 |
| 17 | 17 A/F | - | 50 - 55 |
| 12, 14 | 19 A/F | - | 50 - 55 |
详细信息请参考随产品提供的安装维修指南 (IM-S02-13)。 安装提示: 按照阀体上所示流向安装,确保浮球臂位置水平以保证浮球能自由垂直升降。
本产品可循环使用,处理得当不会引起环境问题。
例: 1 - 斯派莎克 1/2" FT14-4.5 (R-L) 浮球式蒸汽疏水阀,BSP 螺纹连接,球墨铸铁阀体,带内置排空气装置。