

双金属式
斯派莎克 Spirax Sarco No.8 定温排放热静力型蒸汽疏水阀,油填充热静力元件可在 60°C 至 100°C 之间调节设定具体排放温度。提供 ½" BSP 或 NPT 螺纹连接,PN25。

No.8 型定温排放热静力型蒸汽疏水阀,其油填充的热静力元件可设定在一定温度下排放冷凝水。具体排放温度可在 60% 至 100% 之间调节设定。
| 参数 | 数值 |
|---|---|
| 阀体设计条件 | PN25 |
| PMA 最大允许压力 | 25 bar g |
| TMA 最高允许温度 | 250°C |
| PMO 最大工作压力 | 17 bar g |
| TMO 最大工作温度 | 232°C |
| 设计最大状态水压试验压力 | 38 bar g |
PMO - 饱和蒸汽下建议最大工作压力(17 bar g)

注意事项
本产品不能用于图中阴影区域。
图示疏水阀排量是调节螺丝打开 3 圈,在 80°C 时的冷凝水排放量。


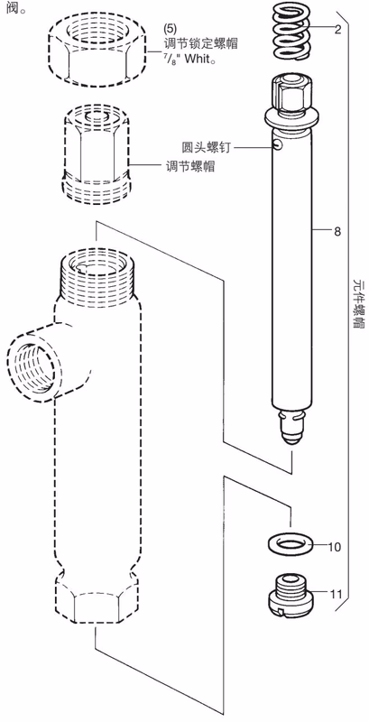
| 序号 | 部件 | 材质 | 标准 |
|---|---|---|---|
| 1 | 调节螺帽 | 黄铜 | BS EN 12165 CW 617N |
| 2 | 弹簧 | 不锈钢 | BS 970 302 S31 |
| 3 | 元件螺帽 | 黄铜 | BS EN 12165 CW 617N |
| 4 | 垫圈 | 黄铜 | BS 2870 CZ 108 |
| 5 | 调节锁定螺帽 | 黄铜 | BS EN 12165 CW 617N |
| 6 | 导承螺丝 | 黄铜 | BS 2872 CZ 108 |
| 7 | 阀体 | 炮铜 | BS EN CC 491K |
| 8 | 热静力元件 | 黄铜 | - |
| 9 | 阀芯 | 不锈钢 | AISI440B |
| 10 | 阀座垫片 | 铜 | BS 2870 C102 |
| 11 | 阀座 | 不锈钢 | BS 970 431 S29 |
| 口径 | A | B | C | 重量 |
|---|---|---|---|---|
| ½" | 215 | 137 | 32 | 1.2 |

详见随产品提供的安装维修指南 (IM-P018-02)。
安装说明: 该疏水阀应安装在需疏水的设备下端,出口朝上。
该疏水阀的工作温度可通过调整热静力元件末端的调整装置来设定。
图中实线所示为可供备件,虚线不属备件供应范围。
| 备件 | 部件 |
|---|---|
| 热静力元件 | 2, 8, 10, 11 |

| 部件 | 对边宽度 | 扭矩 (N·m) |
|---|---|---|
| 5 | 15/32 A/F | 80-85 |
| 11 | ½" UNF | 30-35 |
例: 1 - 斯派莎克 No.8 型定温排放型蒸汽疏水阀,½" 螺纹连接 BSP。
请按上述说明订购备件,并注明疏水阀的口径和型号。 例:1 - 热静力元件,用于斯派莎克 ½" No.8 型蒸汽疏水阀。