

三型可选(普通型/蒸汽型/充液蒸汽型)
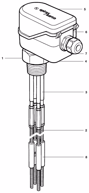
斯派莎克 Spirax Sarco LP10-4液位感应器与LC1350控制器配套,适用于蒸汽锅炉、水箱等容器的开关式液位控制和报警,4探头设计适配电子显示设备,耐高温高压,安装维护便捷,材质可靠。

斯派莎克 Spirax Sarco LP10-4液位感应器需与斯派莎克LC1350液位控制器配套使用,核心用于蒸汽锅炉、水箱及其他容器的开关式液位控制和报警功能。其4探头型设计尤其适配安装了3灯“电子显示”液位/报警显示器的场景,能精准反馈液位状态。
感应器本体通过螺纹连接处接地,锅炉或水箱可直接形成接地回路;若应用于混凝土或塑料水箱,可选用其中一个探头作为接地端,或搭配单独的接地棒/板使用。产品采用高品质材质制造,适配工业复杂工况,安装与维护流程简便。
| 参数类别 | 具体指标 |
|---|---|
| 压力性能 | 压力等级PN40,最大压力32 bar g(464 psi g) |
| 温度耐受 | 最高工作温度239°C(462°F),最高环境温度70°C(158°F),最低环境温度-20°C(-4°F) |
| 防护等级 | IP54 |
| 连接与感应 | 最大电缆长度30m(98ft),最大感应长度2095mm(82.5"),最小感应深度75mm(3") |
| 适配要求 | 与LC1350配套使用时,最小电导率1μS/cm @ 25℃ |
| 安装规格 | 适配1"BSP tapered或1"NPT螺孔法兰/盖板 |

| 序号 | 部件名称 | 材质规格 |
|---|---|---|
| 1 | 保护壳体 | 奥氏不锈钢 BS EN 10088-3(1.4306) |
| 2 | 探头 | 奥氏不锈钢 Type 316/316L |
| 3 | 探头绝缘套 | PFA(Per Fluor Alkoxy) |
| 4 | 导线盖下部 | PPS(Polyphenyline sulphide) |
| 5 | 导线盖上部 | PPS(Polyphenyline sulphide) |
| 6 | 压盖支撑垫 | 弹性热塑 |
| 7 | 电缆压盖 | 聚酰脂 |
| 8 | 探头定子 | PEEK(Polyaryletherketone)Grade 450G |

| 尺寸参数 | 数值(mm) | 数值(英寸) |
|---|---|---|
| A | 60 | 2.4 |
| B | 25 | 1.0 |
| C | 75 | 3.0 |
| D | 50 | 2.0 |
| 重量 | 1.15 kg | 2.5 磅 |
虽然锅炉水位控制系统需要定时测试,但LP10-4液位感应器本身无需特别的维护流程,仅需遵循常规工业设备保养规范即可。

| 备件名称 | 包含组件 |
|---|---|
| LP10-4 电线接头 | 6个平接头、2个圆接头 |
| LP10-4 探头安装组件 | 1个1探头连接器、1个锁紧螺丝母、2个拧头定子 |
示例:斯派莎克 Spirax Sarco LP10-4感应器(BSP接口),探头长度1000mm。 注:探头需单独定购,可根据实际需求在安装前切割至所需长度。