

PN16
斯派莎克 Spirax Sarco LRV2B 和 LRV2S 是直接作用式炮铜阀体减压阀,适用于液体系统。提供 ½" 至 1" 口径,螺纹连接 BSP 或 NPT。LRV2B 配磷青铜波纹管,LRV2S 配不锈钢 (316Ti/316L) 波纹管。三种弹簧范围(0.35-1.7、1.4-4.0、3.5-8.6 bar g),通过手轮上的颜色标识便于识别。

LRV2B 和 LRV2S 是直接作用式减压阀,适用于液体系统。阀体采用炮铜材质,螺纹连接,设计用于可靠的下游压力控制。
可供型号:
弹簧压力范围(颜色标识)
阀门配有一种颜色标识的弹簧,通过调节手轮上的塑料标志牌识别:
| 颜色 | 下游压力控制范围 |
|---|---|
| 灰色 | 0.35-1.7 bar g (5.08-24.7 psi g) |
| 绿色 | 1.40-4.0 bar g (20.3-58.0 psi g) |
| 橙色 | 3.50-8.6 bar g (50.8-125 psi g) |
注意: 当压力范围有重叠时,用较低范围弹簧控制效果更佳。
| 参数 | 数值 |
|---|---|
| 阀体设计条件 | PN25 |
| PMA - 最大允许压力 | 25 bar g @ 120 °C |
| TMA - 最大允许温度 | 100 °C @ 17 bar g |
| 最低允许温度 | 0 °C |
| PMO - 最大工作压力 | 14 bar g @ 75 °C |
| TMO - 最大工作温度 | 75 °C @ 14 bar g |
| 最低工作温度 | 0 °C |
| PMX - 最大压差 | 由 PMO 决定 |
| 建议最大减压比(最大流量下) | 10:1 |
| 设计最大冷态水压试验压力 | 38 bar g |
WARNING
内部组件安装后,测试压力不允许超过 17 bar g。

| 序号 | 部件 | 材质 |
|---|---|---|
| 1 | 弹簧室 | 铝-环氧脂涂层 LM24 |
| 2 | 调节手轮 | 塑料-聚丙烯 |
| 3 | 上弹簧板 | 铸铁 DIN 1691 GG 20 |
| 4 | 压力调节弹簧 | 硅铬弹簧钢 BS 2803 685 A55 |
| 5 | 波纹管组件 | 不锈钢 316Ti/316L 或 磷青铜/黄铜 BS 2872 CZ 122 |
| 6 | 波纹管组件垫圈 | 加强型片状石墨 |
| 7 | 弹簧室螺栓 (M8 x 25 mm) | 镀锌钢 BS 3692 Gr. 8.8 |
| 8 | 阀体 | 炮铜 BS 1400 LG2 |
| 9 | 导衬 | 不锈钢 ASTM A276 316L |
| 10 | 推杆 | 不锈钢 ASTM A276 316L |
| 11 | 阀座 | 不锈钢 BS 970 431 S29 |
| 12 | 阀座垫圈 | 不锈钢 BS 1449 316 S11 |
| 13 | 柱塞 | 不锈钢 BS 970 431 S29 |
| 14 | 阀芯 | 丁腈橡胶 |
| 15 | 柱塞回复弹簧 | 不锈钢 BS 2056 Gr. 302 S26 |
| 16 | 过滤网 | 不锈钢 BS 1449 316 S16 |
| 17 | 底盖 | 黄铜 BS 2872 CZ 122 |
| 18 | 底盖垫圈 | 加强型片状石墨 |
| 19 | 弹簧颜色标志牌 | 聚丙烯 |
| 20 | 隔板 | 不锈钢 316L |
| 21 | 销子 | 镀铜低碳钢 |

阀门全开时的 Kv 值(用于安全阀选型):
| 口径 | Kvs |
|---|---|
| ½" | 2.1 |
| ¾" | 3.6 |
| 1" | 4.3 |
转换公式:
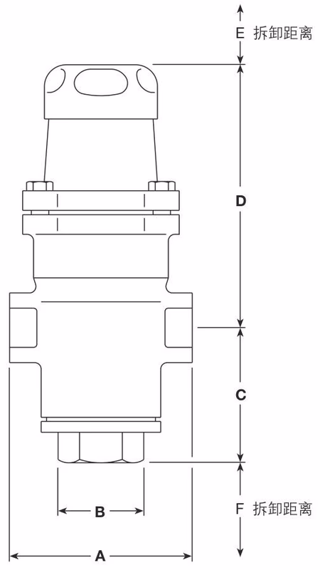
尺寸单位 mm,重量单位 kg:
| 口径 | A | B | C | D | E | F | 重量 |
|---|---|---|---|---|---|---|---|
| ½" | 83 | 32 | 62 | 130 | 25 | 40 | 2.0 |
| ¾" | 96 | 32 | 62 | 130 | 25 | 40 | 2.1 |
| 1" | 108 | 32 | 62 | 130 | 25 | 40 | 2.4 |
(尺寸单位 mm,重量单位 kg。E 和 F 为拆检距离)

安全提示
本产品不能用于压力/温度图中的阴影区域。
安装要求:
压力调节:
阀门和阀座必须保持清洁。上游安装的过滤器和内置过滤网应定期清洗,以确保阀门流通顺畅。
压力设定步骤
在低流量条件下,下游压力会升高,但会控制在略高于正常负载下设定的压力值。

可提供的备件:
| 备件 | 包含序号 | 说明 |
|---|---|---|
| 压力调节弹簧(灰) | 4, 19 | 0.35-1.7 bar g |
| 压力调节弹簧(绿) | 4, 19 | 1.40-4.0 bar g |
| 压力调节弹簧(橙) | 4, 19 | 3.50-8.6 bar g |
| 波纹管组件 | 5, 6, 9 | 不锈钢或磷青铜 |
| 弹簧室螺栓 | 7 | 4个一套 |
| 阀芯和阀座组件 | 6, 11, 12, 13, 14, 15, 16, 20 | |
| 密封垫片包 | 6, 12, 18 | |
| 过滤网 | 16 |
| 序号 | 部件 | 规格 | 扭矩 |
|---|---|---|---|
| 7 | 六角螺栓 | 13 A/F, M8 x 25 | 13-15 N·m (10-11 ft·lbf) |
| 11 | 阀座 | 32 A/F | 108-132 N·m (80-97 ft·lbf) |
| 16 | 底盖 | 32 A/F | 65-75 N·m (48-55 ft·lbf) |
示例: 1 个斯派莎克 Spirax Sarco ½" LRV2S 减压阀,炮铜阀体,螺纹 BSP 连接,不锈钢波纹管,配橙色弹簧,下游压力控制范围 3.5-8.6 bar g (50.8-125 psi g)。
认证说明
本产品唯一可提供的认证是制造商典型测试报告。所有认证/检验要求须在订购时明确说明。