

斯派莎克 Spirax Sarco UBP32 密封型压力平衡式热静力蒸汽疏水阀,不锈钢材质,免维修。最高使用压力 32 bar g,配合管道连接器可实现快速在线更换。

UBP32密封型压力平衡式热静力蒸汽疏水阀,不锈钢材质,免维修。最高使用压力32 bar g。
当与合适的管道连接器相连时(斯派莎克公司另外提供),UBP32可以方便地在线拆除,这样不仅不会影响管道,还缩短了系统停机时间。管道连接器有螺纹,承插焊和法兰等连接方式。UBP32可循环使用。UBP32CV为内置止回阀型。
标准型疏水阀的液囊为‘STD’型,在低于蒸汽饱和温度 12℃ 时疏水。 选项:疏水阀也可提供‘NTS’型液囊,在低于蒸汽饱和温度 6℃ 时疏水(注:英文原版标示为4℃/7°F);‘SUB’型液囊,在低于蒸汽饱和温度 24℃ 时疏水(注:英文原版标示为22℃/40°F)。
本产品符合欧洲压力设备指令97/23/EC。 注:阀体和阀盖的焊接符合EN 288和ASME第IX部分。 本产品可提供EN 10204 3.1证书。 注:如需证书,请在订购时注明。
UBP32可以和多种管道连接器相连,包括:
| 连接器型号 | 描述 | 法兰等级 | 参考资料 |
|---|---|---|---|
| PC10 | 直型连接器 | ANSI/ASME 300 | (TI-P128-10) |
| PC10HP | 直型连接器 | ANSI/ASME 600 | (TI-P128-10) |
| PC3_ | 连接器带1个活塞式截止阀 | ANSI/ASME 600 | (TI-P128-02) |
| PC4_ | 连接器带2个活塞式截止阀 | ANSI/ASME 600 | (TI-P128-03) |
详细资料请参考相关连接器的技术资料。

| 序号 | 部件 | 材质 | 标准 |
|---|---|---|---|
| 1 | 阀体 | 奥氏体不锈钢 (304) | ASTM A351 Gr. CF8 |
| 2 | 阀盖 | 奥氏体不锈钢 (304) | ASTM A276 Gr. 304 |
| 3 | 滤网 | 不锈钢 | ASTM A240 Gr. 304 |
| 4 | 阀座 | 不锈钢 | ASTM A276 Gr. 431 |
| 5 | 液囊 | 不锈钢 | - |
| 6 | 隔板 | 不锈钢 | ASTM A240 Gr. 304 |
| 7 | 弹簧 | 不锈钢 | ASTM A313 Gr. 302 |
| 8 | 内环垫圈 | 不锈钢/石墨填充 | 螺旋AISI 304扁钢 |
| 9 | 外环垫圈 | 不锈钢/石墨填充 | 螺旋AISI 304扁钢 |
| 10 | 连接螺栓 | 钢 | ASTM A193 B7 |

本产品不应用于阴影区域,否则会损坏其内部件。
注:管道连接器的型号和连接方式决定整个组件的最大工作压力和温度。详细信息请参考相关的技术资料。
| 参数 | 值 |
|---|---|
| 最大阀体设计条件 | PN 50 (ANSI 300) |
| PMA 最大允许压力 | 50 bar g @ 38°C |
| TMA 最大允许温度 | 400°C @ 28 bar g |
| PMO 最高工作压力 (饱和蒸汽压力下) | 32 bar g |
| TMO 最高工作温度 | 286°C @ 31 bar g |
| 最小允许温度 | -48°C |
| 最小工作温度 | 0°C |
| 最高冷态水压试验压力 | 75 bar g |

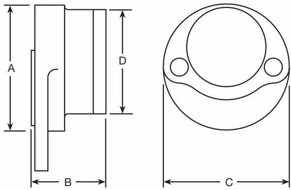
| A | B | C | D | 重量 (仅疏水阀) |
|---|---|---|---|---|
| 35 | 33 | 68 | 42.5 | 0.43 kg |

UBP32可以与任意管道连接器相连,任意位置安装,请参考斯派莎克管道连接器的安装维修指南(IM-P128-06,IM-P128-11)。拆开塑料保护套,检查垫片是否完整干净,连接孔是否干净。将UBP32阀体与连接器垫片面相对,在连接螺栓(10)螺纹上涂上少许润滑剂,拧紧螺栓的同时检查阀体是否和连接器平行,将螺栓拧紧至建议力矩。缓慢打开截止阀至正常情况并检查是否有泄漏现象。
在进行任何维修前,必须关闭上下游截止阀并确保管道安全通向大气,维修前应将管道冷却至环境温度。维修时应使用正确的工具,防护设备并遵从安全规则。拧开两个连接螺栓即可卸下疏水阀。将新的疏水阀阀体与连接器垫片面相对,在连接螺栓(10)螺纹上涂上少许润滑剂,拧紧螺栓同时检查阀体是否和连接器平行,将螺栓拧紧至建议力矩。缓慢打开截止阀至正常情况并检查是否有泄漏。
UBP32由不锈钢制成,可循环使用,处置得当不会造成环境危害。
UBP32和管道连接器需分别订购。UBP32和内外环垫圈(已定位)及两个连接螺栓都放在包装盒内。 例:
UBP32为密封型免维护疏水阀,无内部备件。 图中实线所示为可供备件,虚线部分不作为备件提供。
可供备件:

| 部件 | 尺寸 (A/F) | Nm |
|---|---|---|
| 10 | 9/16" | 30-35 |
请根据上述说明订购备件,并注明疏水阀的口径型号和压力等级。 例:2 - 连接螺栓和垫片组,用于UBP32。