

The UBP32 is a maintenance free sealed balanced pressure steam trap manufactured in stainless steel, for use with pipeline connectors. It can also be supplied with an inbuilt check valve designated UBP32CV.

The UBP32 is a maintenance free sealed balanced pressure steam trap manufactured in stainless steel. It can also be supplied with an inbuilt check valve designated UBP32CV.
When installed with a suitable pipeline connector, the UBP32 can easily and simply be removed without breaking into the pipeline, thus speeding up trap replacement with minimal system downtime. Pipeline connectors are available as screwed, socket weld and flanged. The body and cover meet typical industry standards including Charpy impact testing of 27J @ -30°C (-22°F).
As standard, the UBP32 is supplied with a thermostatic capsule (STD) which operates approximately 12°C (22°F) below steam saturation temperature. It can also be supplied with capsules operating near to steam 4°C (7°F) below (NTS) or sub-cooled 22°C (40°F) below (SUB).
This product fully complies with the requirements of the EU Pressure Equipment Directive / UK Pressure Equipment (Safety) Regulations. The body to cover welded joint complies with ASME Section IX and BS/EN 288. This product is available with certification to EN 10204 3.1. Note: All certification/inspection requirements must be stated at the time of order placement.
The UBP32 can be fitted to a variety of pipeline connectors:
| Pipeline Connector | Description | ASME Rating | Reference |
|---|---|---|---|
| PC10 | Straight connector | ANSI/ASME 300 | (TI-P128-10) |
| PC10HP | Straight connector | ANSI/ASME 600 | (TI-P128-10) |
| PC20 | Connector with internal strainer | ANSI/ASME 300 | (TI-P128-15) |
| PC3_ | Connector with one piston isolation valve | ANSI/ASME 600 | (TI-P128-02) |
| PC4_ | Connector with two piston isolation valves | ANSI/ASME 600 | (TI-P128-03) |

| No. | Part | Material | Standard |
|---|---|---|---|
| 1 | Body | Austenitic stainless steel (304 grade) | ASTM A351 Gr. CF8 |
| 2 | Cover | Austenitic stainless steel (304 grade) | ASTM A276 Gr. 304 |
| 3 | Screen | Stainless steel | ASTM A240 Gr. 304 |
| 4 | Seat | Stainless steel | ASTM A276 Gr. 431 |
| 5 | Capsule | Stainless steel | |
| 6 | Spacer plate | Stainless steel | ASTM A240 Gr. 304 |
| 7 | Spring | Stainless steel | ASTM A313 Gr. 302 |
| 8 | Inlet gasket | Graphite/AISI 316 strip | AISI 316 strip |
| 9 | Outlet gasket | Graphite/AISI 316 strip | AISI 316 strip |
| 10 | Connector screws | Steel | ASTM A193 B7 |

The product must not be used in this region. The product should not be used in this region or beyond its operating range as damage to the internals may occur.
Note: The model of pipeline connector and connection selected will dictate the maximum operating limits of the complete assembly. Reference the specific pipeline connector Technical Information sheet as detailed in 'Pipeline connector options'.
| Parameter | Value |
|---|---|
| Body design conditions | PN50 (ANSI 300) |
| PMA Maximum allowable pressure | 50 bar g @ 38°C (725 psi g @ 100°F) |
| TMA Maximum allowable temperature | 400°C @ 28 bar g (752°F @ 406 psig) |
| Minimum allowable temperature | -48°C (-54°F) |
| PMO Maximum operating pressure for saturated steam service | 32 bar g (464 psig) |
| TMO Maximum operating temperature | 286°C @ 31 bar g (547°F @ 450 psig) |
| Minimum operating temperature | 0°C (32°F) |
| Designed for a maximum cold hydraulic test pressure of | 75 bar g (1088 psig) |

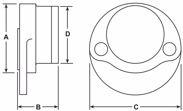
| A | B | C | D | Weight (trap unit only) |
|---|---|---|---|---|
| 35 | 33 | 68 | 42.5 | 0.43 kg |

For full details see the Installation and Maintenance Instructions (IM-P127-02) supplied with the product.
The UBP32 can be installed on any pipeline connector in any plane.
This product is recyclable. No ecological hazard is anticipated with the disposal of this product providing due care is taken.
The UBP32 is supplied in two parts:
1 off Spirax Sarco DN20 PC10 swivel pipeline connector with socket weld connections. 1 off Spirax Sarco UBP32 sealed balanced pressure thermostatic steam trap fitted with an STD capsule.
The UBP32 is a sealed non-maintainable trap unit. No internal spares are available. The spares which are available are shown in solid outline. Parts shown in a grey line are not available as spares.
Available spares:

| Item | A/F or mm | Nm |
|---|---|---|
| 10 | 9/16" | 30-35 |
Always order spare parts by using the description given in the column headed 'Available spares' and state the size, Model No. and pressure rating of the trap. Example: 2 - Connector screws for a UBP32 sealed balanced pressure thermostatic steam trap.
Explore similar products in our catalog







