

斯派莎克 Spirax Sarco BT6-B 与 BT6-B Food+ 卫生型压力平衡式热静力蒸汽疏水阀, 采用 316L 不锈钢自排放无死角阀体,适用于洁净蒸汽、纯蒸汽、CIP/SIP 及食品接触蒸汽冷凝水工况, 提供低排量 BL 和高排量 BH 两种版本。

BT6-B 卫生型压力平衡式热静力蒸汽疏水阀用于洁净蒸汽和纯蒸汽系统排放冷凝水,同时尽量减少冷凝水滞留。典型应用包括无菌蒸汽隔离、block and bleed 工位、主管疏水,以及容器、反应釜和工艺管线的 CIP / SIP 工况。
BT6-B 采用 316L 不锈钢制造,阀体无死角,并带有 15° 倾斜阀座,可确保完全自排放。标准感温元件对冷凝水温度变化极为敏感,在典型工况下可在接近饱和蒸汽温度、约低 2°C 的名义过冷度附近开启。具体工作性能会受系统压力、安装方式和环境条件影响。
每只疏水阀均在 ISO Class 7 洁净环境中单独包装,进出口配有保护端盖,并密封于保护塑料袋中。
BT6-B Food+ 版本适用于蒸汽和冷凝水工况,符合 EC 1935:2004 食品接触材料要求,也符合 EC 2023:2006 关于食品接触材料和制品良好生产规范的要求。
可直接或间接接触食品的材料清单可在本产品的 Declaration of Compliance 中查阅。
| 型号 | 排量 |
|---|---|
| BT6-BL | 低排量 |
| BT6-BH | 高排量 |
按 ISO 4287:1997 和 ISO 4288:1997 测量:
BT6-B 按 ASME BPE 的通用要求设计制造,同时符合欧盟压力设备指令 2014/68/EU。
密封件部分符合以下要求:
<87> 与 In-Vivo <88>,121°C 提取 1 小时可提供的证书包括:
所有证书和检验要求必须在订货时注明,部分项目按资料说明需要额外收费。
资料中列出了卫生卡箍端和管端两大类连接形式。
| 标准 | 版次 / 系列 | 口径 |
|---|---|---|
| ASME BPE | Type A | 1/2 in,3/4 in |
| ASME BPE | Type B | 1 in,1 1/2 in |
| ISO 1127 | 1997 Series 1 | DN25,DN40 |
| ISO 1127 | 1997 Variations | DN15,DN20 |
| DIN 32676 | 2001-02 Series 2 | DN15,DN20,DN25,DN40 |
| DIN 32676 | 2009-05 Series A | DN15,DN20,DN25,DN40 |
| DIN 32676 | 2009-05 Series B | DN8,DN10,DN15,DN20,DN25,DN32,DN40 |
| DIN 32676 | 2009-05 Series C | 1/2 in,3/4 in,1 in,1 1/2 in |
| 标准 | 版次 / 系列 | 口径 |
|---|---|---|
| DIN 11866 | 2016-11 Series A | DN15,DN20,DN25,DN40 |
| DIN 11850 | 1999-01 Series 2 | DN15,DN20,DN25 |
| ISO 1127 | 1997 Series 1 | DN15,DN20,DN25,DN40 |

| 序号 | 部件 | 材质 | 标准 / 说明 |
|---|---|---|---|
| 1 | 上阀体(入口) | 不锈钢 | 316L (1.4404) |
| 2 | 下阀体(出口) | 不锈钢 | 316L (1.4404) |
| 3 | 感温元件 | 不锈钢 | - |
| 4 | 安全卡箍 | 不锈钢 | 316 (1.4401) |
| 5 | 密封圈 | PTFE / 不锈钢复合垫片 | PTFE + 316L (1.4404) |

图中阴影区域表示产品不得在该区域使用。额外限制区域表示若在该区域使用,内部元件可能损坏。
对于卫生卡箍端连接,组件的最高压力 / 温度还可能受所用密封圈或卡箍限制。最终装配极限需向 Spirax Sarco 确认。
| 参数 | 数值 |
|---|---|
| 阀体设计条件 | PN10 |
| PMA 最大允许压力 | 10 bar g @ 140°C |
| TMA 最大允许温度 | 177°C @ 9.2 bar g |
| 最低允许温度 | -10°C |
| PMO 饱和蒸汽工况最大工作压力 | 6 bar g |
| TMO 最大工作温度 | 165°C @ 6 bar g |
| 最低工作温度 | 0°C |
| 最大冷态水压试验压力 | 15 bar g |

排量曲线中的标识说明如下:
图例表示:

管端版本适用于 DIN 11866、DIN 11850 和 ISO 1127 标准。卫生卡箍端版本适用于 ASME BPE、ISO 1127 和 DIN 32676 标准。
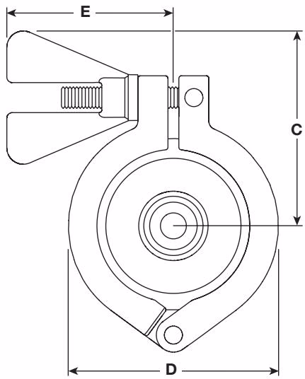
| 版本 | 口径 | A | B | C | D | E | 重量 |
|---|---|---|---|---|---|---|---|
| ASME BPE Type A / B、ISO 1127、DIN 32676 Series 2 + A + C 卫生卡箍端 | 1/2 in (DN15),3/4 in (DN20),1 in (DN25),1 1/2 in (DN40) | 65 | 64 | 71.5 | 77 | 61 | 最大 1 kg |
| DIN 32676 Series B 卫生卡箍端 | DN8,DN10,DN15,DN20,DN25,DN32,DN40 | 65 | 64 | 71.5 | 77 | 61 | 最大 1 kg |
| DIN 11866 Series A、DIN 11850 Series 2、ISO 1127 Series 1 管端 | DN15,DN20,DN25,DN40 | 92 | 64 | 71.5 | 77 | 61 | 最大 1 kg |
完整信息请参见随产品提供的安装维护说明 IM-P180-31。
BT6-B 设计为安装在垂直管线中,流向向下,以保证阀体自排放。安装时应检查阀体上的流向箭头。产品不随附接头和管夹。
安装时应设置合适的冷却管段,以避免正常运行时冷凝水倒灌进入工艺设备。
感温元件不得暴露在过热条件下。所有部件都应小心搬运,避免损伤加工表面。
本产品依靠内部充有 WFI 感温液的不锈钢液囊工作。在冷态或启动阶段,液囊完全开启,可排放大量空气、冷凝水和 CIP 介质。随着系统温度接近蒸汽温度,液囊内液体膨胀,阀门关闭,以防止新鲜蒸汽泄漏。
关闭点非常接近蒸汽温度,从而保证系统高效排水。

可供备件如下,其他部件不作为备件提供。
| 可供备件 | 对应序号 |
|---|---|
| 感温元件组件 | 3, 5 |
| 密封圈 | 5 |
| 下阀体,含阀座 | 2 |
订购备件时,应按照“可供备件”栏中的描述下单,并注明口径和疏水阀型号。
示例:1 套用于 1/2 in BT6-BH 卫生型压力平衡式热静力蒸汽疏水阀的感温元件组件。
示例:1 台 Spirax Sarco 1/2 in BT6-BH 卫生型压力平衡式热静力蒸汽疏水阀,自排放阀体,ASME BPE 卫生卡箍连接,适用于最高 6 bar g 压力,内表面电解抛光至 0.375 um Ra(15 micro-inch Ra,ASME BPE SF4),并提供承压件 EN 10204 3.1 材质证书。