

Spirax Sarco BT6-B and BT6-B Food+ sanitary balanced pressure thermostatic steam traps for clean and pure steam service, manufactured in 316L stainless steel with a self-draining crevice-free body, available in low-capacity and high-capacity versions for sterile barriers, block-and-bleed duty, mains drainage, and CIP/SIP process systems.

The Spirax Sarco BT6-B sanitary balanced pressure thermostatic steam trap is designed to remove condensate from clean and pure steam applications with minimal condensate retention. Typical duties include sterile steam barriers, block and bleed installations, mains drainage, and CIP/SIP of vessels, reactors, and process lines.
Manufactured in 316L stainless steel, the crevice-free BT6-B body incorporates a 15° angled seat to ensure full drainability. The standard element is extremely sensitive to condensate temperature change and is intended to open within approximately 2°C nominal sub-cooling of steam saturation temperature under typical operating conditions. Exact operating performance may vary with pressure, installation, and ambient conditions.
Each trap is individually packaged in an ISO Class 7 clean environment with protective end caps and sealed in a protective plastic bag.
The BT6-B Food+ variant is designed, manufactured, and approved for steam and condensate applications. It complies with EC 1935:2004 Food Contact Materials and EC 2023:2006 on good manufacturing practice for materials and articles intended to come into contact with food.
A list of materials that may directly or indirectly contact foodstuffs is available in the Declaration of Compliance for this product.
| Type | Capacity |
|---|---|
| BT6-BL | Low capacity |
| BT6-BH | High capacity |
Body surface finish is measured to ISO 4287:1997 and ISO 4288:1997:
The BT6-B has been designed and built in general accordance with ASME BPE and also complies with the requirements of the European Pressure Equipment Directive 2014/68/EU.
The seal part is stated as compliant with:
<87> and In-Vivo <88>, extracted at 121°C for 1 hourAvailable certification includes:
All certification and inspection requirements must be stated at the time of order placement and may incur additional cost where stated in the source literature.
The source literature lists sanitary clamp ended variants and tube ended variants.
| Standard | Issue / Series | Sizes |
|---|---|---|
| ASME BPE | Type A | 1/2 in, 3/4 in |
| ASME BPE | Type B | 1 in, 1 1/2 in |
| ISO 1127 | 1997 Series 1 | DN25, DN40 |
| ISO 1127 | 1997 Variations | DN15, DN20 |
| DIN 32676 | 2001-02 Series 2 | DN15, DN20, DN25, DN40 |
| DIN 32676 | 2009-05 Series A | DN15, DN20, DN25, DN40 |
| DIN 32676 | 2009-05 Series B | DN8, DN10, DN15, DN20, DN25, DN32, DN40 |
| DIN 32676 | 2009-05 Series C | 1/2 in, 3/4 in, 1 in, 1 1/2 in |
| Standard | Issue / Series | Sizes |
|---|---|---|
| DIN 11866 | 2016-11 Series A | DN15, DN20, DN25, DN40 |
| DIN 11850 | 1999-01 Series 2 | DN15, DN20, DN25 |
| ISO 1127 | 1997 Series 1 | DN15, DN20, DN25, DN40 |

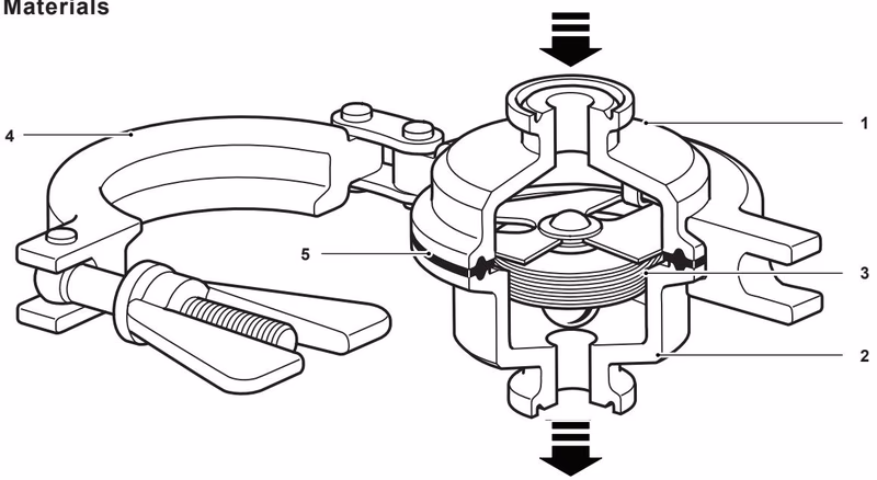
| No. | Part | Material | Standard / Notes |
|---|---|---|---|
| 1 | Body (inlet) | Stainless steel | 316L (1.4404) |
| 2 | Body (outlet) | Stainless steel | 316L (1.4404) |
| 3 | Capsule element | Stainless steel | - |
| 4 | Safety clamp | Stainless steel | 316 (1.4401) |
| 5 | Seal | PTFE / stainless steel composite gasket | PTFE + 316L (1.4404) |

The product must not be used in the shaded region. The product should not be used in the additional restricted region, as damage to the internals may occur.
For hygienic and sanitary clamp ends, the maximum pressure and temperature may be restricted by the gasket or sanitary clamp used. Spirax Sarco advises consulting them for the final limit of the assembled installation.
| Parameter | Value |
|---|---|
| Body design condition | PN10 |
| PMA Maximum allowable pressure | 10 bar g @ 140°C |
| TMA Maximum allowable temperature | 177°C @ 9.2 bar g |
| Minimum allowable temperature | -10°C |
| PMO Maximum operating pressure for saturated steam service | 6 bar g |
| TMO Maximum operating temperature | 165°C @ 6 bar g |
| Minimum operating temperature | 0°C |
| Maximum cold hydraulic test pressure | 15 bar g |

The capacity chart uses the following references:
The legend identifies:


Tube ended variants are available in DIN 11866, DIN 11850 and ISO 1127 standards. Sanitary clamp ended variants are available in ASME BPE, ISO 1127 and DIN 32676 standards.
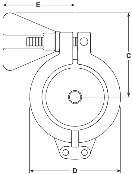
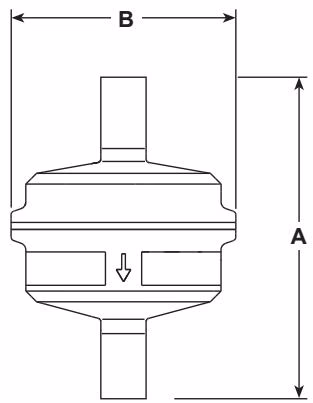
| Variant | Sizes | A | B | C | D | E | Weight |
|---|---|---|---|---|---|---|---|
| ASME BPE Types A and B, ISO 1127, DIN 32676 Series 2 + A + C sanitary clamp ended variants | 1/2 in (DN15), 3/4 in (DN20), 1 in (DN25), 1 1/2 in (DN40) | 65 | 64 | 71.5 | 77 | 61 | 1 kg maximum |
| DIN 32676 Series B sanitary clamp ended variants | DN8, DN10, DN15, DN20, DN25, DN32, DN40 | 65 | 64 | 71.5 | 77 | 61 | 1 kg maximum |
| DIN 11866 Series A, DIN 11850 Series 2, ISO 1127 Series 1 tube ended variants | DN15, DN20, DN25, DN40 | 92 | 64 | 71.5 | 77 | 61 | 1 kg maximum |
For full details see Installation and Maintenance Instructions IM-P180-31 supplied with the product.
The BT6-B is designed to be installed in vertical lines with the flow downwards so that the body is self-draining. Check the flow arrow on the body for correct orientation. Fittings and pipe clamps are not supplied.
Installation should include a suitable cooling leg to avoid condensate back-up into process equipment under normal operating conditions.
Do not expose the capsule element to superheat conditions. Handle all components carefully to avoid damage to surfaces.
The trap operates by means of a stainless steel capsule filled with a WFI temperature sensing fluid. During cold or start-up conditions the capsule is fully open, allowing large volumes of air, condensate, and CIP fluid to be drained. As the system approaches steam temperature the fluid in the capsule expands and the valve closes the trap to prevent live steam loss.
This closure occurs very close to steam temperature to ensure efficient drainage of the system.

The available spare parts are detailed below. No other parts are supplied as spares.
| Available spares | Item No. |
|---|---|
| Capsule element assembly | 3, 5 |
| Seal | 5 |
| Body (outlet) including seat | 2 |
Always order spares by using the description given in the column headed "Available spares" and state the size and type of trap.
Example: 1 - Capsule element assembly for a 1/2 in BT6-BH sanitary balanced pressure thermostatic steam trap.
Example: 1 off Spirax Sarco 1/2 in BT6-BH sanitary balanced pressure thermostatic steam trap with self-draining body. Connections to be sanitary clamp ends to meet the requirements of ASME BPE. Suitable for pressure up to 6 bar g. Internal surface finish to be electropolished to 0.375 um Ra (15 micro-inch Ra, ASME BPE SF4). Material certification to EN 10204 3.1 for pressure containing parts.
Explore similar products in our catalog