

TDS 控制
斯派莎克 Spirax Sarco GS-X 系列面板安装式可编程单回路 PID 控制器旨在优化热处理及其他工艺过程的产量。具备 0.1% 高精度输入、高速以太网接口(支持 Modbus TCP、BACnet 等协议)以及包含数学和逻辑控制的可接线功能块,适用于工业 4.0 应用。


斯派莎克 Spirax Sarco GS-X 系列面板安装式可编程单回路 PID 控制器专为优化热处理和其他工艺应用的生产产量而设计。这些控制器是数字化工业 4.0 和“工业物联网”(IIoT) 应用的理想组件,提供精确、可重复的控制和测量性能。
GS-X1 和 GS-X2 分别是 SX80 和 SX90 系列的理想替代产品,在现代化的封装中提供了更高级的功能。
主要特征
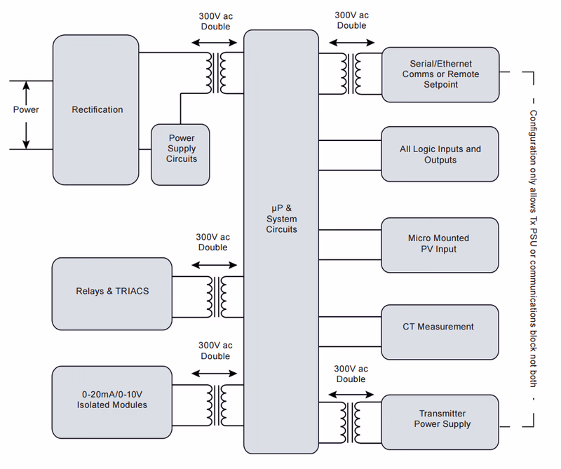
GS-X 系列提供高度可配置的 I/O 模块,以适应各种工艺需求:

| 型号 | 开孔尺寸 | 重量 |
|---|---|---|
| GS-X1 | 45 x 45 mm (-0.0 +0.6) | 250 g |
| GS-X2 | 92 x 45 mm (-0.0 +0.8) | 350 g |
| GS-X3 | 92 x 92 mm (-0.0 +0.8) | 420 g |
GS-X1 尺寸图
GS-X2 尺寸图
GS-X3 尺寸图
控制器采用模块化端子布局。请务必根据技术文档中提供的接线图进行正确接线。
GS-X1 端子布局
GS-X2/GS-X3 端子布局
GS-X 系列采用多级访问系统,以确保安全性和易用性:
PB.H (比例带)、TI (积分时间)、TD (微分时间) 进行修改。A1 -> mAIN -> RNG.HI (量程上限) 和 RNG.LO (量程下限) 进行调整。备份与配置
可使用 USB 备份电缆进行桌面配置和备份,该电缆即使在没有外壳的情况下也能为仪器供电。iTools 软件提供了一个全面的图形界面,用于快速备份和参数配置。